申請號: 201720490805.8
申請日(ri): 2017.05.05
申請人: 新鄭市寶德高技術有限(xian)公(gong)司
發明人: 高增祿; 唐小帥(shuai); 張靜娜

摘要:
本實用新型公開了一種基于棕剛玉的磨粉裝置,包括底座和機殼,所述機殼的底部貫穿底座并延伸至底座的底部,所述機殼的內腔固定連接有L型板,所述機殼頂部的右側固定連接有第一電機,所述第一電機的輸出軸貫穿機殼且延伸至機殼的內腔,所述第一電機輸出軸延伸至機殼內腔的一端通過聯軸器固定連接有第一轉動軸,所述第一轉動軸的底端通過軸承與L型板的頂部轉動連接。本實用新型涉及棕剛玉生產設(she)備技術領域,該基(ji)于棕(zong)(zong)剛(gang)玉(yu)(yu)的(de)磨(mo)粉(fen)裝(zhuang)置,達到(dao)了(le)(le)對(dui)(dui)棕(zong)(zong)剛(gang)玉(yu)(yu)進(jin)行(xing)二次磨(mo)粉(fen)的(de)目(mu)的(de),大(da)(da)大(da)(da)提(ti)高了(le)(le)對(dui)(dui)棕(zong)(zong)剛(gang)玉(yu)(yu)磨(mo)粉(fen)的(de)工作效率,使裝(zhuang)置徹底的(de)對(dui)(dui)棕(zong)(zong)剛(gang)玉(yu)(yu)研磨(mo),達到(dao)很好的(de)研磨(mo)效果,避(bi)免影響使用者對(dui)(dui)裝(zhuang)置的(de)使用,同時也避(bi)免了(le)(le)造成浪費財力(li)和物力(li)的(de)現(xian)象。
主權利要求:
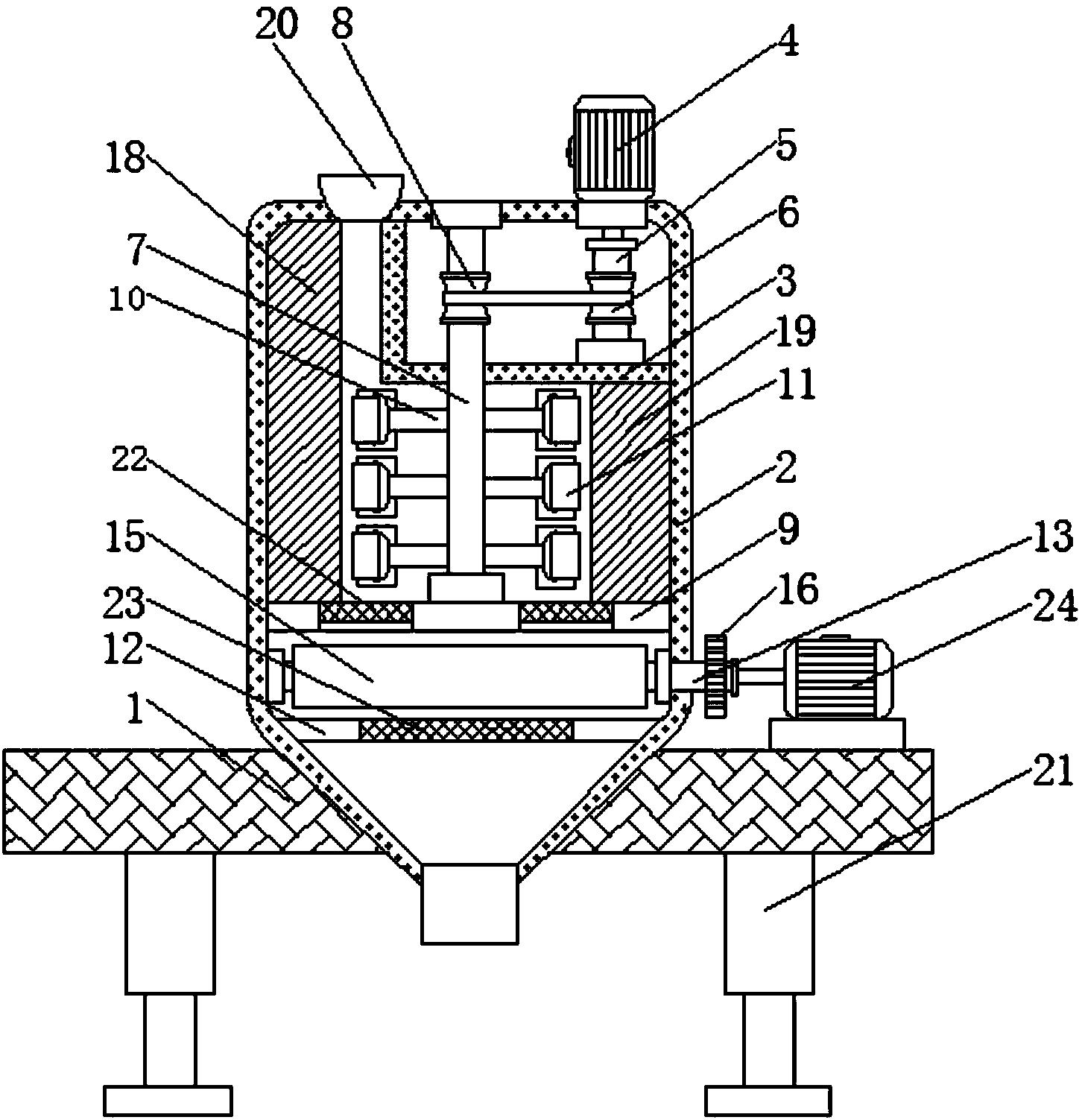
一(yi)(yi)(yi)(yi)種基(ji)于(yu)(yu)棕剛玉的(de)(de)(de)(de)(de)(de)(de)(de)磨(mo)(mo)粉裝置,包(bao)括底座(1)和機(ji)(ji)(ji)(ji)殼(ke)(ke)(ke)(ke)(2),其特征在于(yu)(yu):所(suo)(suo)(suo)(suo)(suo)述(shu)(shu)(shu)(shu)(shu)機(ji)(ji)(ji)(ji)殼(ke)(ke)(ke)(ke)(2)的(de)(de)(de)(de)(de)(de)(de)(de)底部(bu)(bu)貫(guan)穿(chuan)底座(1)并延(yan)(yan)(yan)伸(shen)(shen)(shen)(shen)至(zhi)(zhi)(zhi)底座(1)的(de)(de)(de)(de)(de)(de)(de)(de)底部(bu)(bu),所(suo)(suo)(suo)(suo)(suo)述(shu)(shu)(shu)(shu)(shu)機(ji)(ji)(ji)(ji)殼(ke)(ke)(ke)(ke)(2)的(de)(de)(de)(de)(de)(de)(de)(de)內(nei)(nei)腔(qiang)固(gu)定(ding)(ding)連接(jie)(jie)(jie)(jie)(jie)(jie)有(you)(you)(you)(you)L型板(ban)(ban)(ban)(3),所(suo)(suo)(suo)(suo)(suo)述(shu)(shu)(shu)(shu)(shu)機(ji)(ji)(ji)(ji)殼(ke)(ke)(ke)(ke)(2)頂部(bu)(bu)的(de)(de)(de)(de)(de)(de)(de)(de)右(you)(you)側固(gu)定(ding)(ding)連接(jie)(jie)(jie)(jie)(jie)(jie)有(you)(you)(you)(you)第(di)(di)(di)(di)(di)(di)(di)(di)一(yi)(yi)(yi)(yi)電機(ji)(ji)(ji)(ji)(4),所(suo)(suo)(suo)(suo)(suo)述(shu)(shu)(shu)(shu)(shu)第(di)(di)(di)(di)(di)(di)(di)(di)一(yi)(yi)(yi)(yi)電機(ji)(ji)(ji)(ji)(4)的(de)(de)(de)(de)(de)(de)(de)(de)輸出(chu)軸(zhou)(zhou)(zhou)(zhou)(zhou)貫(guan)穿(chuan)機(ji)(ji)(ji)(ji)殼(ke)(ke)(ke)(ke)(2)且(qie)(qie)延(yan)(yan)(yan)伸(shen)(shen)(shen)(shen)至(zhi)(zhi)(zhi)機(ji)(ji)(ji)(ji)殼(ke)(ke)(ke)(ke)(2)的(de)(de)(de)(de)(de)(de)(de)(de)內(nei)(nei)腔(qiang),所(suo)(suo)(suo)(suo)(suo)述(shu)(shu)(shu)(shu)(shu)第(di)(di)(di)(di)(di)(di)(di)(di)一(yi)(yi)(yi)(yi)電機(ji)(ji)(ji)(ji)(4)輸出(chu)軸(zhou)(zhou)(zhou)(zhou)(zhou)延(yan)(yan)(yan)伸(shen)(shen)(shen)(shen)至(zhi)(zhi)(zhi)機(ji)(ji)(ji)(ji)殼(ke)(ke)(ke)(ke)(2)內(nei)(nei)腔(qiang)的(de)(de)(de)(de)(de)(de)(de)(de)一(yi)(yi)(yi)(yi)端(duan)(duan)(duan)通(tong)過(guo)(guo)聯軸(zhou)(zhou)(zhou)(zhou)(zhou)器固(gu)定(ding)(ding)連接(jie)(jie)(jie)(jie)(jie)(jie)有(you)(you)(you)(you)第(di)(di)(di)(di)(di)(di)(di)(di)一(yi)(yi)(yi)(yi)轉(zhuan)(zhuan)(zhuan)(zhuan)動(dong)軸(zhou)(zhou)(zhou)(zhou)(zhou)(5),所(suo)(suo)(suo)(suo)(suo)述(shu)(shu)(shu)(shu)(shu)第(di)(di)(di)(di)(di)(di)(di)(di)一(yi)(yi)(yi)(yi)轉(zhuan)(zhuan)(zhuan)(zhuan)動(dong)軸(zhou)(zhou)(zhou)(zhou)(zhou)(5)的(de)(de)(de)(de)(de)(de)(de)(de)底端(duan)(duan)(duan)通(tong)過(guo)(guo)軸(zhou)(zhou)(zhou)(zhou)(zhou)承與L型板(ban)(ban)(ban)(3)的(de)(de)(de)(de)(de)(de)(de)(de)頂部(bu)(bu)轉(zhuan)(zhuan)(zhuan)(zhuan)動(dong)連接(jie)(jie)(jie)(jie)(jie)(jie),所(suo)(suo)(suo)(suo)(suo)述(shu)(shu)(shu)(shu)(shu)第(di)(di)(di)(di)(di)(di)(di)(di)一(yi)(yi)(yi)(yi)轉(zhuan)(zhuan)(zhuan)(zhuan)動(dong)軸(zhou)(zhou)(zhou)(zhou)(zhou)(5)的(de)(de)(de)(de)(de)(de)(de)(de)外(wai)(wai)表(biao)(biao)面且(qie)(qie)位(wei)(wei)于(yu)(yu)L型板(ban)(ban)(ban)(3)的(de)(de)(de)(de)(de)(de)(de)(de)頂部(bu)(bu)套(tao)(tao)(tao)設(she)(she)有(you)(you)(you)(you)第(di)(di)(di)(di)(di)(di)(di)(di)一(yi)(yi)(yi)(yi)皮(pi)帶輪(lun)(6),所(suo)(suo)(suo)(suo)(suo)述(shu)(shu)(shu)(shu)(shu)機(ji)(ji)(ji)(ji)殼(ke)(ke)(ke)(ke)(2)內(nei)(nei)腔(qiang)的(de)(de)(de)(de)(de)(de)(de)(de)頂部(bu)(bu)且(qie)(qie)位(wei)(wei)于(yu)(yu)第(di)(di)(di)(di)(di)(di)(di)(di)一(yi)(yi)(yi)(yi)轉(zhuan)(zhuan)(zhuan)(zhuan)動(dong)軸(zhou)(zhou)(zhou)(zhou)(zhou)(5)的(de)(de)(de)(de)(de)(de)(de)(de)左側通(tong)過(guo)(guo)軸(zhou)(zhou)(zhou)(zhou)(zhou)承轉(zhuan)(zhuan)(zhuan)(zhuan)動(dong)連接(jie)(jie)(jie)(jie)(jie)(jie)有(you)(you)(you)(you)第(di)(di)(di)(di)(di)(di)(di)(di)二(er)轉(zhuan)(zhuan)(zhuan)(zhuan)動(dong)軸(zhou)(zhou)(zhou)(zhou)(zhou)(7),所(suo)(suo)(suo)(suo)(suo)述(shu)(shu)(shu)(shu)(shu)第(di)(di)(di)(di)(di)(di)(di)(di)二(er)轉(zhuan)(zhuan)(zhuan)(zhuan)動(dong)軸(zhou)(zhou)(zhou)(zhou)(zhou)(7)的(de)(de)(de)(de)(de)(de)(de)(de)外(wai)(wai)表(biao)(biao)面且(qie)(qie)位(wei)(wei)于(yu)(yu)L型板(ban)(ban)(ban)(3)的(de)(de)(de)(de)(de)(de)(de)(de)頂部(bu)(bu)套(tao)(tao)(tao)設(she)(she)有(you)(you)(you)(you)第(di)(di)(di)(di)(di)(di)(di)(di)二(er)皮(pi)帶輪(lun)(8),且(qie)(qie)第(di)(di)(di)(di)(di)(di)(di)(di)二(er)皮(pi)帶輪(lun)(8)和第(di)(di)(di)(di)(di)(di)(di)(di)一(yi)(yi)(yi)(yi)皮(pi)帶輪(lun)(6)通(tong)過(guo)(guo)皮(pi)帶傳動(dong)連接(jie)(jie)(jie)(jie)(jie)(jie),所(suo)(suo)(suo)(suo)(suo)述(shu)(shu)(shu)(shu)(shu)機(ji)(ji)(ji)(ji)殼(ke)(ke)(ke)(ke)(2)內(nei)(nei)腔(qiang)的(de)(de)(de)(de)(de)(de)(de)(de)兩側之間(jian)固(gu)定(ding)(ding)連接(jie)(jie)(jie)(jie)(jie)(jie)有(you)(you)(you)(you)第(di)(di)(di)(di)(di)(di)(di)(di)一(yi)(yi)(yi)(yi)分(fen)隔(ge)(ge)(ge)板(ban)(ban)(ban)(9),所(suo)(suo)(suo)(suo)(suo)述(shu)(shu)(shu)(shu)(shu)第(di)(di)(di)(di)(di)(di)(di)(di)二(er)轉(zhuan)(zhuan)(zhuan)(zhuan)動(dong)軸(zhou)(zhou)(zhou)(zhou)(zhou)(7)的(de)(de)(de)(de)(de)(de)(de)(de)底端(duan)(duan)(duan)貫(guan)穿(chuan)L型板(ban)(ban)(ban)(3)并延(yan)(yan)(yan)伸(shen)(shen)(shen)(shen)至(zhi)(zhi)(zhi)L型板(ban)(ban)(ban)(3)的(de)(de)(de)(de)(de)(de)(de)(de)底部(bu)(bu)且(qie)(qie)與第(di)(di)(di)(di)(di)(di)(di)(di)一(yi)(yi)(yi)(yi)分(fen)隔(ge)(ge)(ge)板(ban)(ban)(ban)(9)的(de)(de)(de)(de)(de)(de)(de)(de)頂部(bu)(bu)通(tong)過(guo)(guo)軸(zhou)(zhou)(zhou)(zhou)(zhou)承轉(zhuan)(zhuan)(zhuan)(zhuan)動(dong)連接(jie)(jie)(jie)(jie)(jie)(jie),所(suo)(suo)(suo)(suo)(suo)述(shu)(shu)(shu)(shu)(shu)第(di)(di)(di)(di)(di)(di)(di)(di)二(er)轉(zhuan)(zhuan)(zhuan)(zhuan)動(dong)軸(zhou)(zhou)(zhou)(zhou)(zhou)(7)的(de)(de)(de)(de)(de)(de)(de)(de)外(wai)(wai)表(biao)(biao)面且(qie)(qie)位(wei)(wei)于(yu)(yu)L型板(ban)(ban)(ban)(3)與第(di)(di)(di)(di)(di)(di)(di)(di)一(yi)(yi)(yi)(yi)分(fen)隔(ge)(ge)(ge)板(ban)(ban)(ban)(9)之間(jian)固(gu)定(ding)(ding)連接(jie)(jie)(jie)(jie)(jie)(jie)有(you)(you)(you)(you)連接(jie)(jie)(jie)(jie)(jie)(jie)桿(10),所(suo)(suo)(suo)(suo)(suo)述(shu)(shu)(shu)(shu)(shu)連接(jie)(jie)(jie)(jie)(jie)(jie)桿(10)遠離第(di)(di)(di)(di)(di)(di)(di)(di)二(er)轉(zhuan)(zhuan)(zhuan)(zhuan)動(dong)軸(zhou)(zhou)(zhou)(zhou)(zhou)(7)的(de)(de)(de)(de)(de)(de)(de)(de)一(yi)(yi)(yi)(yi)端(duan)(duan)(duan)通(tong)過(guo)(guo)連接(jie)(jie)(jie)(jie)(jie)(jie)架轉(zhuan)(zhuan)(zhuan)(zhuan)動(dong)連接(jie)(jie)(jie)(jie)(jie)(jie)有(you)(you)(you)(you)第(di)(di)(di)(di)(di)(di)(di)(di)一(yi)(yi)(yi)(yi)磨(mo)(mo)筒(tong)(tong)(11);所(suo)(suo)(suo)(suo)(suo)述(shu)(shu)(shu)(shu)(shu)機(ji)(ji)(ji)(ji)殼(ke)(ke)(ke)(ke)(2)內(nei)(nei)腔(qiang)的(de)(de)(de)(de)(de)(de)(de)(de)兩側之間(jian)且(qie)(qie)位(wei)(wei)于(yu)(yu)第(di)(di)(di)(di)(di)(di)(di)(di)一(yi)(yi)(yi)(yi)分(fen)隔(ge)(ge)(ge)板(ban)(ban)(ban)(9)的(de)(de)(de)(de)(de)(de)(de)(de)底部(bu)(bu)固(gu)定(ding)(ding)連接(jie)(jie)(jie)(jie)(jie)(jie)有(you)(you)(you)(you)第(di)(di)(di)(di)(di)(di)(di)(di)二(er)分(fen)隔(ge)(ge)(ge)板(ban)(ban)(ban)(12),所(suo)(suo)(suo)(suo)(suo)述(shu)(shu)(shu)(shu)(shu)機(ji)(ji)(ji)(ji)殼(ke)(ke)(ke)(ke)(2)的(de)(de)(de)(de)(de)(de)(de)(de)內(nei)(nei)腔(qiang)一(yi)(yi)(yi)(yi)側且(qie)(qie)位(wei)(wei)于(yu)(yu)第(di)(di)(di)(di)(di)(di)(di)(di)一(yi)(yi)(yi)(yi)分(fen)隔(ge)(ge)(ge)板(ban)(ban)(ban)(9)和第(di)(di)(di)(di)(di)(di)(di)(di)二(er)分(fen)隔(ge)(ge)(ge)板(ban)(ban)(ban)(12)之間(jian)分(fen)別通(tong)過(guo)(guo)軸(zhou)(zhou)(zhou)(zhou)(zhou)承轉(zhuan)(zhuan)(zhuan)(zhuan)動(dong)有(you)(you)(you)(you)主(zhu)(zhu)(zhu)動(dong)軸(zhou)(zhou)(zhou)(zhou)(zhou)(13)和被(bei)動(dong)軸(zhou)(zhou)(zhou)(zhou)(zhou)(14),且(qie)(qie)主(zhu)(zhu)(zhu)動(dong)軸(zhou)(zhou)(zhou)(zhou)(zhou)(13)和被(bei)動(dong)軸(zhou)(zhou)(zhou)(zhou)(zhou)(14)的(de)(de)(de)(de)(de)(de)(de)(de)右(you)(you)端(duan)(duan)(duan)均(jun)貫(guan)穿(chuan)機(ji)(ji)(ji)(ji)殼(ke)(ke)(ke)(ke)(2)并延(yan)(yan)(yan)伸(shen)(shen)(shen)(shen)至(zhi)(zhi)(zhi)機(ji)(ji)(ji)(ji)殼(ke)(ke)(ke)(ke)(2)的(de)(de)(de)(de)(de)(de)(de)(de)外(wai)(wai)部(bu)(bu),所(suo)(suo)(suo)(suo)(suo)述(shu)(shu)(shu)(shu)(shu)主(zhu)(zhu)(zhu)動(dong)軸(zhou)(zhou)(zhou)(zhou)(zhou)(13)且(qie)(qie)位(wei)(wei)于(yu)(yu)機(ji)(ji)(ji)(ji)殼(ke)(ke)(ke)(ke)(2)內(nei)(nei)腔(qiang)的(de)(de)(de)(de)(de)(de)(de)(de)外(wai)(wai)表(biao)(biao)面和被(bei)動(dong)軸(zhou)(zhou)(zhou)(zhou)(zhou)(14)且(qie)(qie)位(wei)(wei)于(yu)(yu)機(ji)(ji)(ji)(ji)殼(ke)(ke)(ke)(ke)(2)內(nei)(nei)腔(qiang)的(de)(de)(de)(de)(de)(de)(de)(de)外(wai)(wai)表(biao)(biao)面均(jun)套(tao)(tao)(tao)設(she)(she)有(you)(you)(you)(you)第(di)(di)(di)(di)(di)(di)(di)(di)二(er)磨(mo)(mo)筒(tong)(tong)(15),所(suo)(suo)(suo)(suo)(suo)述(shu)(shu)(shu)(shu)(shu)主(zhu)(zhu)(zhu)動(dong)軸(zhou)(zhou)(zhou)(zhou)(zhou)(13)延(yan)(yan)(yan)伸(shen)(shen)(shen)(shen)至(zhi)(zhi)(zhi)機(ji)(ji)(ji)(ji)殼(ke)(ke)(ke)(ke)(2)外(wai)(wai)部(bu)(bu)的(de)(de)(de)(de)(de)(de)(de)(de)外(wai)(wai)表(biao)(biao)面套(tao)(tao)(tao)設(she)(she)有(you)(you)(you)(you)主(zhu)(zhu)(zhu)動(dong)齒輪(lun)(16),所(suo)(suo)(suo)(suo)(suo)述(shu)(shu)(shu)(shu)(shu)被(bei)動(dong)軸(zhou)(zhou)(zhou)(zhou)(zhou)(14)延(yan)(yan)(yan)伸(shen)(shen)(shen)(shen)至(zhi)(zhi)(zhi)機(ji)(ji)(ji)(ji)殼(ke)(ke)(ke)(ke)(2)外(wai)(wai)部(bu)(bu)的(de)(de)(de)(de)(de)(de)(de)(de)外(wai)(wai)表(biao)(biao)面套(tao)(tao)(tao)設(she)(she)有(you)(you)(you)(you)與主(zhu)(zhu)(zhu)動(dong)齒輪(lun)(16)相互嚙(nie)合的(de)(de)(de)(de)(de)(de)(de)(de)被(bei)動(dong)齒輪(lun)(17)。


手機資訊
官方微信







豫公網(wang)安備41019702003604號