金融界2025年4月16日消息,國家知識產權局信息顯示,新鄭市寶德高技術有限公司取得一項名為“一種納米剛玉磨料冷卻裝置”的專利,授權公告號CN222755192U,申請...
國家知識產權局信息顯示,洛陽弘祥高新材料有限公司取得一項名為“一種白剛玉磨料生產除塵系統”的專利,授權公告號CN222468520U,申請日期為2024年5月。專利摘要...
剛玉磨料,作為磨削、拋光等工藝中的關鍵材料,因其獨特的物理化學性質,在工業制造領域發揮著舉足輕重的作用。根據成分...
金融界2024年7月20日消息,天眼查知識產權信息顯示,淄博四砂泰益研磨有限公司,四砂泰利萊(青島)研磨股份有限公司取得一項名為“一種陶瓷剛玉磨料的制備方法“,授權公告...
2024年7月20日消息,天眼查知識產權信息顯示,淄博四砂泰益研磨有限公司,四砂泰利萊(青島)研磨股份有限公司取得一項名為“一種陶瓷剛玉磨料的制備方法“,授權公告號CN...
棕剛玉磨料加工工件的特點都有哪些呢?今天來給大家簡單的介紹一下這方面的相關內容,希望能夠對大家有所幫助。棕剛玉磨料加工工件的4個特點介紹1.工件的受力易于分析。對于傳統...
2月21日,山西呂梁經開區黨工委副書記尹新明主持召開年產40萬噸高級磨料及制品項目推進會,與企業對接了解項目推進...
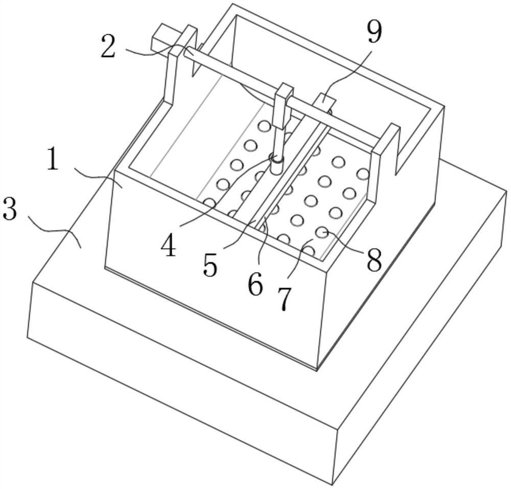
申請號:CN202210105138.2申請人:登封市匯聯磨料磨具有限公司發明人:張淵博張瑞鵬張瑩博摘要:本發明...
近日,中國磨料磨具網記者從鄭州市科學技術局獲悉,2022年度鄭州市工程技術研究中心和重點實驗室組建文件已印發,“...
七月,受焦化煤氣供應問題影響,山西地區部分鋁礬土生產企業已出現減、停產現象,且具體影響時間尚不能知。受此影響,當地熟礬土供應問題或將會更加趨于緊張......
鋁礬土板塊年關將近,下游企業備貨已接近尾聲,市場需求明顯降低,部分企業已停產放假,市場或將以平穩狀態迎接春節的到來。年后,鋁礬土市場能否維持穩定,需主要觀察兩點:第一是...
鋁礬土板塊本周,我國高品位鋁礬土生礦、熟礬土價格均出現上漲。甚至有部分企業反映:熟礬土價格從8月底至9月初短短幾天內已上漲了約200元/噸左右。預計未來一周,我國高品位...
11月中旬以來,在河南鄭州、洛陽、焦作等地重污染天氣黃、橙、紅色預警輪番發布之下,當地棕剛玉生產企業停產情況增多,棕剛玉磨料市場供應量也在減少,但是考慮到當前市場整體需...
棕剛玉磨料與SG磨料一樣,同屬于剛玉類磨料多晶體,但是也有很大區別。棕剛玉能在較小磨削力的情況下產生較好的自銳性(比如低速研磨盤),當磨料收到磨削力作用的時候,它的鈍化...
3月28日,中國超硬材料網市場總監劉小雨、市場經理高峰一行走...
公元1278年,此時的南宋就如零丁洋里的一片到處漏水的孤舟,...
2023年9月20日,時隔四年,期待已久的第六屆磨料磨具磨削展覽會在鄭州國際會展中心隆重開幕。本次展覽會由中國機械工業集團有限公司、國機精工股份有限公司、中國機械國際合作股份有限公司聯合主辦。旨在推動中國磨料磨具行業的快速發展,加強國內外企業的交流與合作。
1963年,我國成功研制出第一顆人造金剛石,經過幾代人的拼搏奮斗,實現了從無到有、從小到大、從弱到強的華麗蝶變。人造金剛石及其制品在我國航空航天、國防軍工、機床機械等領域發揮著愈發重要的作用。不僅如此,隨著金剛石技術的選代,金剛石民用領域—培育鉆石迎來了自己的大爆發,中國占據了世界培育鉆石產量的80%以上,近幾年在國際上產生了巨大影響力。